AudioSmart® CX22721 I2S 2W CODEC Product Brief
High Performance Stereo Class-D Amplifier for Advanced In-Air Playback
The Synaptics CX22721 is a high performance, stereo class-D amplifier designed to enable advanced in-air playback functionality for systems that use Synaptics Voice Processors.
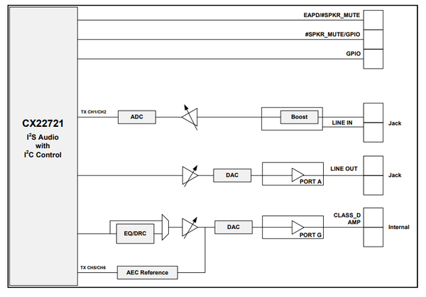
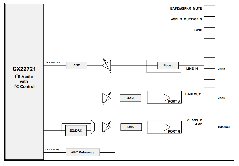
The CX22721 features I2S audio I/O with I2C control, dedicated hardware DSP effects for speaker tuning, and an Acoustic Echo Canceler (AEC) reference output optimized for Synaptics Voice solutions.
The CX22721 provides 2W per channel output with 1% distortion at 5V PVDD with a 4Ω speaker, and 1.3W per channel output with an 8Ω speaker. The ClassD amplifier uses programmable signal dynamics management and poweraveraging technology to safely maximize sound pressure level.
The Synaptics SpeakerShield provides industry-leading, real-time protection with features including load-based DC detection, short-circuit, near-short, high temperature, and over-temperature protection. The device also supports a highquality Line Out port with Headphone Drive capability.
The host interface provides selectable signaling levels of 1.8V and 3.3V. The Digital-to-Analog converters (DACs) support sampling frequencies of 44.1k, 48k, 96k, and 192kHz. Multiple General Purpose Input/Outputs (GPIOs) are available, as well as a bi-directional External Amplifier Power-Down (EAPD) function for advanced Power Management.
Dedicated hardware DSP capabilities enable a high-quality audio experience, especially as part of a closed-loop system with a Synaptics Voice Processor. This includes a 7-band/channel hardware EQ and a singleband DRC (with a single knee) which, independent of any host-based effects, can be combined to optimize speaker response and increase device loudness while simultaneously minimizing distortion.
A programmable high-pass filter on the Class-D output removes DC offset from the I2S audio channels, protecting the speakers from overheating.
System Block Diagram

Applications
- Voice-controlled STB
- Smart Bluetooth/WiFi speaker
- Voice interactive smart appliances
- Internet of Things (IoT) devices
System Compatibility
- Stereo AudioSmart Class-D Speaker Amplifier
- I2S for Audio Streaming and I2C for control
- Windows 8.x/10
- Linux®
- Android™
The devices in this publication are lead-free (Pb-Free) and China RoHS compliant.
Contact your local Synaptics sales office for advanced software options.


